RGK Entscheidungshilfe SoleWasser WP - Seite 4
|
|
||
|
Tja, wäre interessant was sie dazu bei der Inbetriebnahme sagen, wenn sie es selbst verkauft haben... Die WPSF hat sowohl schnellentlüfter als auch sicherheitsventil 🤡 Ja und das zieht sich halt durch die ganze Dokumentation und teils auch die Menüs mit unlogischen Bezeichnungen. Der Inbetriebnahmetechniker hat bei mir gescherzt, dass das eben rauskommt wenn ein deutscher ingenieur mit google translate die schwedische Dokumentation eines schwedischen ingenieurs übersetzt. EDIT: ok, das sicherheitsventil der WPSF spricht bei 3 bar an. Frag mich nicht ob das dann zulässig ist. Frag bei stiebel 2 leute ohne zu erwähnen, dass es um die hauseigene einheit geht und du wirst 3 antworten bekommen Arne hat seine Meinung zu der WP WP [Wärmepumpe] eh schon geschrieben. Falsch machst damit nix. Die hat auch die Ausgleichsgefäße für Heizung und Sole schon integriert und passive kühlung für kleinen aufpreis, ohne externe Komponenten - falls du es irgendwann mal brauchst oder mit Ventilatoren an den Heizkörpern soll das wohl auch halbwegs funktionieren -> siehe z.b. Beiträge von passra |
||
|
||
|
Die Vase ist beim Sicherheitskonzept der 07.1 nicht erlaubt. Beim WPSF muss bei IBN der Automatische Entlüfter zugedreht werden, wegen R290. Die Wärmepumpe hat selber einen Zyklonabscheider integriert, der eine bessere Abscheideleistung von Mikroblasen als ein Spirovent hat. Außerdem sitzt der Zyklonabscheider direkt nach dem Verflüssiger und ist somit nicht nur im Heizbetrieb, sondern auch beim Warmwasserbereiten (wo durch höhere Temperaturen mehr Mikroblasen entstehen) durchströmt. Für die Garantie ist wie ich das verstehe nur wichtig, dass auch der Warmwasserboiler vom gleichen Hersteller kommt, wenn nicht die HW Version gneommen wird. Solebefüllstation und Soleflüssigkeit können selbst gekauft werden. Wie im Link von @dyarne sollte man aber Bio-Ethanol nehmen. Ist besser für die Umwelt und die Umwälzpumpe braucht weniger Strom, weil die Ethanolmischung dünnflüssiger und eine höhere Wärmekapazität als Gkylcol hat. Wieviel Raumhöhe hast du? Mit einer FRIWA lässt sich sicher ein Speicher finden der passt und wäre auch flexibel was Verbrauch angeht. Eine Brauchwasserwärmepumpe würd ich nicht nehmen, die Solemaschinen haben alle ein WW WW [Warmwasser]-Umschaltventil etc. eingebaut und können den Speicher mit 6-8kW nachladen, wobei eine Brauchwasserwärmepumpe nur 1,5 bis 1,8kW je nach Raumtemperatur hat. Mal ganz davon abgesehen, dass es nicht immer unproblematisch ist, wenn der Keller stärker abgekühlt wird. Außerdem tut der Warmwasserbetrieb einer Wärmepumpe im Sommer gut, die Geräte machen zwar einen "Pumpkick" aber normaler Betrieb aktiviert alles. Hier im Forum wird dann meist der Verdichter auf das beste COP Fenster begrenzt. Im Gesamtpaket sehe ich derzeit die Premium vor der Plus, sieht man auch schon im Namen... Es sind für die Quelle und Senke jeweils ein 24 Liter Ausdehnungsgefäße integriert, die integrierte passive Kühlung würde ich immer dazunehmen und Volumenstromsensor ist integriert. Eigentlich braucht man nur eine Solebefüllstation, einen Magnetitabscheider + Filterkugelhahn im Rücklauf und einen Mikroblasenabscheider im Vorlauf. Bei einer FRIWA mit einen größeren Puffer noch ein zusätzliches externes MAG. Da ist die Installation sehr übersichtlich und vor allem sehr einfach für den Installateur. Für die Kühlung benötigt man auch die FET und für die Konnektivität das ISG Connect. |
||
|
||
|
Hallo poelzldan, hier gibt es dazu Erfahrungen und Preise: RGK Entscheidungshilfe SoleWasser WP |
||
|
||
|
Will der Heliotherm Installateur den Pufferspeicher als parallelen Puffer anbinden, mit Heizkreisgruppe etc. dahinter oder nur als Puffer für die FRIWA und den Heizkreis direkt anfahren? Parallel hätte ich nur von IDM erwartet, mit Heizstab etc... |
||
|
||
|
Grüß euch, Aber hätte das WPSF bei der WPE-I 08 HK 230 Premium einen Vorteil gegenüber der Befüllstation der RGK RGK [Ringgrabenkollektor]-Onlineshops? Raumhöhe ist 185cm. Redest du bei Filterkugelhahn und Magnetitabscheider vom Solekreislauf, oder? Die PV-Integration wird bei der Premium „gleich gut“ funktionieren, wie bei der Plus-Serie, oder? Ich muss ehrlich gestehen, ich bin auf das dann gar nicht mehr eingegangen. Wenn ich mich jetzt festlegen müsste, würde ich meinen, dass er Puffer für die FRIWA gemeint hat. Sollte ich dann aber am Hydraulikschema sehen, welches ich mit dem Angebot bekommen sollte. Ich werde mal beim Installateur nachfragen, ob er mir dasselbe Angebot, angepasst für die WPE-I 08 HK 230 Premium, erstellen kann. Wer weiß, wo die schlussendlich preislich liegt … -> und wer die Isolationsarbeiten tätigt ... GLG Daniel |
||
|
||
|
Ich habe gerade noch ein Prospekt der WPE-I 07 H 400 Plus gesehen. Wo gliedert die sich eigentlich ein? Ist weder die 7.1 noch die Premium. 👻 Ist ja ein richtiger WP WP [Wärmepumpe]-Dschungel. GLG |
||
|
||
|
Ist eine On-Off entlüfter und manometer sind galt integriert. Kostet beides ein paar euro einzeln und 10 Minuten mehr Arbeitszeit. Eventuell hat die premium sogar ein sicherheitsventil eingebaut, das weiß ich nicht auswendig. Könnte schon sein, nachdem hier auf volle Integration gesetzt wurde für minimalen montageaufwand und Platzbedarf. ...wird preislich ca 3000€ mehr ausmachen |
||
|
||
|
Grüß euch! Ich darf euch nun zwei neue Angebote zeigen. Einmal vom ersten Installateur, welcher hauptsächlich Vaillant verbaut, der mir damals die HK 08 mit Puffer angeboten habe, würde nun auch ohne Puffer, wie von mir gewünscht, die Heizung aufbauen. ![]() ![]() Sole hätte ich bereits, die Befüllvorrichtung könnte ich noch selbst beschaffen. |
||
|
||
|
Zweites Angebot zur HK08: Vom "Stiebel Eltron" Installateur. ![]() ![]() ![]() ![]() ![]() Die Isolierarbeiten werden von einer anderen Firma gemacht, für Sole in Kautschuk und Heizungsleitungen. in Steinwolle mit Alu-Kaschierung. Passt das so? Auf die Frage, ob er sich statt es MEGs eine SoleVase vorsatellen könne kam: "Bei den Premium Geräten ist das Solegefäss bereits eingebaut." GLG Daniel |
||
|
||
|
Ja eh, wie oben auch schon erwähnt. Das gilt aber auch für den Heizkreis, da hat er das MAG angboten 😉 Weiters kanns ihn fragen, warum er dir als Stiebel-Partner die WP WP [Wärmepumpe] teuerer verkauft, als der andere. Die 20% Rabatt kommen wahrscheinlich direkt von Stiebel - hat bisher noch jeder bekommen, den ich kenne. Der Installateur vom oberen Angebot hat die vorbildlich an den Kunden weitergegeben, während hier der Verdacht im Raum steht, dass der Installateur die kassieren will. Bei Stiebel gibt es auch ein Angebotsservice. Kannst ja mal schaune, was da für Preise für die Hardware zurück kommen |
||
|
||
|
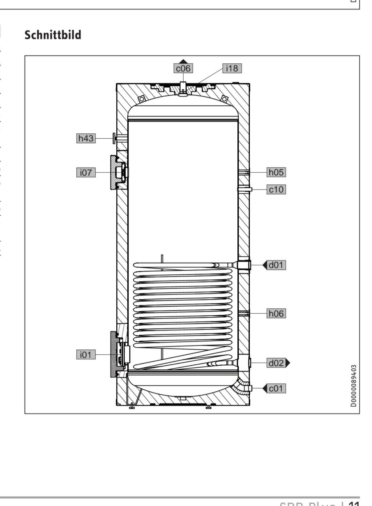
Das ist natürlich gut zu wissen, danke! Also Vase für den Solarkreislauf im Solerücklauf? Und Vase im Heizkreislauf in Heizkreisrücklauf? Sorry, wenn ich da auf der Leitung steh... Für mich ist das Angebot halt insofern schwierig zu lesen, da die Montage bei den einzelnen Positionen immer inkludiert ist. Vielleicht auch deshalb, dass er sich da bezgl. des Rabatts nicht auf Glatteis begibt? Habe gesehen, dass der 301 Speicher ein anderes Register wie der 302 hat. Angeboten wurde mir bei beiden der 301, der sieht innen so aus: ![]() Somit keine Vermischung im oberen Bereich, dafür aber halt auch eine kleinere WT Fläche (3,20 m²). |
||
|
||
|
Du brauchst keine Vase. Vergiss die Vase, das ist ein komischer Fetish hier im Forum. Die Welt dreht sich auch weiter, wenn man ein MAG hat. Die Vase wäre nur für den Sole-Kreis. Kann sein, hab ich nicht bedacht. Finde ich auch unsympathisch solche Angaben. Beim Material steht ja auch Arbeit+Material. Dann kostet die WP WP [Wärmepumpe] wahrscheinlich 2000€ mehr weil er das reintragen und füße einrichte schon eingerechnet hat 😀 Das register reicht sicher auch, und ja, vielleicht hat es sogar mehr Vorteile Ls nachteile, wenn durch die kleinere fläche der obere teil nix vom laden mitbekommt. Aber achte auf die energieeffizienzkkasse. Ich glaube der hat nur C. Das war auch ein Grund warum ich den thermic energy gekauft hab. Der stiebel mit klasse B war mir den Aufpreis nicht wert |
||
|
||
|
Noch dazu sind beide 24 Liter MAGs die eingebaut sind beschichtet -> rosten nicht. Ein zusätzliches MAG im Heizkreis wird nur mit einem FRIWA oder Hygienespeicher benötigt, da hier 400-800 Liter mehr im System sind, die auf 50-60°C erhitzt werden können. Im Register eines Warmwasserboilers sind gerade einmal 20-30 Liter Heizungswasser drin. Wenn die Preise wenigstens pauschalen sind und es dann zu keine unerwarteten Mehrkosten durch mehr Arbeitszeit kommt... Eine Möglichkeit für die 5 Jahre Garantie wäre der SBP 400 Cool Speicher, aber der hat ein Kippmaß von 186,7cm. Daran eine Fristar3WP wäre eine Alternative zu den Boilern. Die Mehrkosten schätze ich auf ca. 1000 Euro. Der SBP ist aber ein normaler leerer Puffer. Sicherheitsventil wird bei der Premium im Solekreis benötigt, wäre im WPSF eingebaut. Das müsste sonst extern gesetzt werden. |
||
|
||
|
Gibts einen Stiebel mit Klasse B?? Termic Energy hat 69W Warmhalte Verlust (B) und der 301 von Stiebel hat 88W (C) Ich denke ich werde beim zweiten Installateur nachfragen ob er gewillt ist, ein gegenangebot zum anderen Installateur zu machen oder nicht. Ich habs mir jetzt nochmal durchgerechnet, die 7.1 kommt doch um einiges billiger, schon klar, dass das passive kühlen der HK auch nett wäre. Denke aber das falls das bei uns mal thema werden würde, eine nomale SplitKlima eher Thema sein wird. WPE-I 07.1 Plus H 400: 21,600,- ohne Solefl., ohne Elektrikerarbeiten WPE-I 08 HK 230 Premium 24.149,- ohne Solefl., ohne Elektrikerarbeiten Bei der WPE-I 07.1 Plus H gibt es die 230 oder 400v Variante, was ist denn hier der tatsächlich Unterschied? Ich nehm an, da gehts um den E-Heizstab? Frage deshlab, weil wir bei unserer PV+Speicher Löung von Huawei nur auf 230v die Notstromversorgung haben und es ja wirklich nett wäre, wenn auch die Heizung wie bisher am Notstorm bleibt, falls möglich. Weiter vorne ging es ja mal um die Ausliefersoftware der 7.1 und das diese sicherlich noch"besser" wird. Werden diese Updates ohne Installateur vor Ort funktionieren? Gibt es da bereits Erfahungen? Ist die Fernbedienung FEG (oder FET??) wirklich noch zeitgemäß? Schaut eher wie ein relickt aus vergangenen Zeit aus. Grundsätzlich hätte ich zwa rnicht gegen eine analoge Steuerenheit im Haus, aber lassen sich die Paramter die am FEG zu änden wären auch via Internet Handy, einsehbar/änderbar? Internet konnektivtät ist ja nativ bereits bei der 7.1 dabei... PS: vom IDM Installateur seit 2 Wochen kein Angebot, Heliotherm bis dato 1 Woche. GLG |
||
|
||
|
Ja den sbb 312 aber jetzt offenbar nur noch mit solar-register. Ich glaube schon. Der Unterschied ist hauptsächlich der verkabelungsaufwand. Bei der 400V gibt es zwei anschlussmöglichkeiten und bei einer Variante hängt alles an einer Sicherung und einem Kabel. Ja, wenn die wp am Internet hängt funktioniert das problemlos. Man kann dann manuell nach updates suchen oder automatische updates aktivieren. Ich weiß nicht was man mit der Fernbedienung einstellen kann und wozu man die bei einer außentemperaturgeführten Regelung brauchen würde. Die Funktionalität der neuen app (für die 07.1) ist zumindest derzeit überschaubar und ich bin skeptisch ob da noch der große wurf kommt. Wie gesagt fehlt da generell noch einiges, was man sich offenbar mal vorgenommen hat und deshalb vorsorglich in die Dokumentation gepackt hat. Die roten werte kann man in der app einstellen und mehr gibts da auch nicht zu sehen... Ob die Heizung richtig läuft (bei Abwesenheit z.b.) sieht man da eigentlich nicht, also anhand der Vorlauf-Temperatur oder so. Was man ev mit einer Fernbedienung an sonnigen oder windigen Tagen machen würde, nämlich die heizkurve parallel runter oder rauf setzen, das funktioniert auch mit der app. Oder wenn man bei längerer Abwesenheit die heizkurve senkt, kann man 2 tage vor Rückkehr z.b. wieder auf normal stellen. |
||
|
||
|
Der Verdichter ist bei der 8er Premium und bei der 7er Plus jeweils 230V. Ich habe bei meiner 7er die Steuerung auf einer eigenen Sicherung hängen, damit ich den Stromverbrauch der Pumpen und vom Verdichter einzeln messen kann. 400V ist eigentlich nur die Verkabelung, 1 Phase ist für den Verdichter und Phase 2 + 3 sind für die Notheizung. Ist wie bei einem Bakofen + Kochfeld, Drehstrom gibts da keinen. |
||
|
||
|
Grüß euch! Ich habe heute das Angebot zur IDM-Lösung bekommen. Dachte schon, dass das Angebot gar nicht mehr kommt. Mitgeschicktes Hydraulikschema: Dachte zuerst: Naja, preislich gar nicht so schlimm. Aber dann hat auf der letzten Seite die MWST. das wieder relativiert... GLG |
||
|
||
|
Alles dabei: Pufferspeicher, Heizstab. 🤷♂️ Dafür fehlt passives Kühlen. |
||
|
||
|
So wies sein soll, oder? 😜 |
||
|
||
|
Vom Heliotherm habe ich noch immer kein Angebot, ist aber ohnehin nur mehr Formsache, da Sie für uns Angesicht der kalten ohnehim kein Thema sein wird. Habe heute vom ersten Installateur noch ein Gegenangebot bekommen zur 7.1 inkl SBB Plus WW WW [Warmwasser] Speicher mit Effizienzklasse B (70w). Ich denke, das wird's dann werden. Wo gehört alles ein Thermosyphon hinein? Warmwasser Ausgang und Vorlauf des Heizregisters? Der Warmwasserspeicher hat im Vergleich zum "ohne plus" Speicher ein etwas anderes Register. Deutlich weiter unten und "nur" 2m2 Fläche. Preislich ist er mit 1600,- auch total in Ordnung denk ich. |
||
|
||
![]() |
||
|
||
![]() |
Beitrag schreiben / Werbung ausblenden?
Einloggen
Kostenlos registrieren [Mehr Infos]
























