NIBE S-Serie: Kommunikation mit dem Zähler für Haushaltsstrom
|
|
||
|
Oder der S0-Anschluss an den Z2 ist nun gar nicht mehr nötig, da ich den PV-Überschuss nun direkt von meinem kürzlich erst eingebauten TS65A-3 im Einspeisepunkt beziehen kann? |
||
|
||
|
Es sieht so aus, als ob ich tatsächlich auf den Haushaltstromzähler Z2 ganz verzichten kann, weil die Nibe mit meinem Fronius Snapinverter Symo bzw. dem Fronius Smart Meter TS65A-3 direkt kommunizieren kann. Nennt sich dann mittlerweile "PV Smart". Jetzt wollte ich es unter 7.5.12 einstellen, aber da steht nun schon was von "Intelligenter Zähler"! Kann das sein, dass das alleine aktiviert wurde, als wir den Smart Meter angeschlossen haben? Und wäre das dann schon alles an Einstellungen? Den Energiezähler Impuls sollte man dann unter 7.2.1 entfernen oder kann man den lassen? ![]() ![]() ![]() ![]() |
||
|
||
|
Hallo, ich würde mich bei dem Thema gerne anhängen. Ich hab eher eine Frage zum Anschluss des Drehstromzählers für den Haushaltverbrauch. Ich weiß zwar wo dieser bei der Wärmepumpe verkabelt werden muss, aber nicht wo dieser dann noch angeschlossen werden muss um den Haushaltsverbrauch ohne Wärmepumpe messen zu können. Vielleicht hat hier ja irgendwer schon Erfahrungen und kann einem Laien wie mir weiter helfen. Mein System besteht aus einem Fronius GEN24 Wechselrichter und einer Nibe S1155-6 PC Danke! |
||
|
|
||
|
||
|
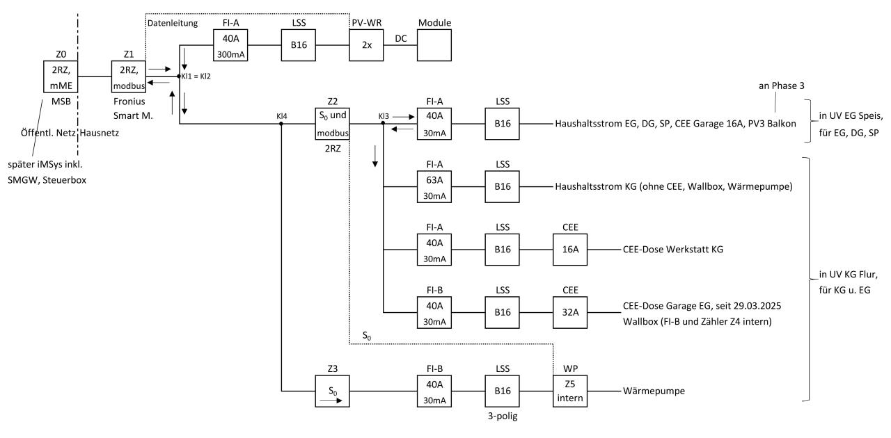
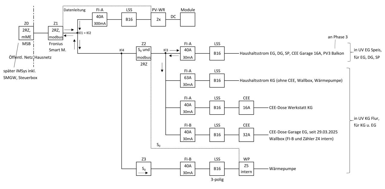
Das S0-Kabel muss an einen Stromzähler, der nur den Haushaltsstrom OHNE den WP WP [Wärmepumpe]-Strom zählt. Den WP WP [Wärmepumpe]-Strom kennt die WP WP [Wärmepumpe] selbst und addiert intern dazu. Die PV-Leistung erhält sie übers Heimnetz (LAN o. WLAN) vom WR WR [Wechselrichter]. Aus diesen Werten kann sie den PV-Überschuss ermitteln und entscheiden, wann sie diesen nutzt. Den Stromzähler nur für den Haushaltsstrom OHNE den WP WP [Wärmepumpe]-Strom zu installieren ist etwa schwierig, FIs sind zu beachten. Aber viel einfacher geht es bei der Nibe-WP mittlerweile über die sog. PV Smart-Funktion, bei der die WP WP [Wärmepumpe] die Infos (sprich auch den eingespeisten PV-Überschuss) direkt vom WR WR [Wechselrichter] übers Heimnetz erhält. Geht bei bestimmten WR WR [Wechselrichter]-Modellen, z.B. Fronius. Das ist der Grund, warum ich meinen extra gekauften und installierten Haushaltsstromzähler Z2 samt S0-Kabel nicht mehr benötige und obige Frage zur den neuen Einstellungen gestellt habe. Siehe mein erstes Bild oben und das hier: ![]() |
||
|
||
|
Hallo krebs8, hier gibt es dazu Erfahrungen und Preise: NIBE S-Serie: Kommunikation mit dem Zähler für Haushaltsstrom |
||
|
||
|
Hallo, ich hab das laut der Anleitung so verstanden, dass er sowohl den Haushaltstromzähler braucht als auch die Verbindung mit dem Wechselrichter über TCP/IP, wo er sich nur die Ertragsinformationen her holt, aber irgendwie kann einem niemand genau erklären (sowohl mein Installateur als auch KNV), was jetzt wirklich benötigt wird bzw wie man das genau einstellt. Die Anleitung ist hier ja wie gesagt auch nicht wirklich hilfreich, aber vielleicht verstehe ich es auch einfach nicht :D |
||
|
||
hätte ich auch wie Soulwax gesehen lt. Beschreibung in Schritt 3 wird der Zähler benötigt, |
||
|
||
|
Am besten wäre es wenn man über Modbus die Verbrauchswerte mitteilen könnten. Leider habe ich bisher keinen Register dazu gefunden.... |
||
|
||
|
Ich habe eine S1156PC, Fronius Symo (Snapinverter) und neu einen Smart Meter TS 65A-3. Haushaltsstrom (ohne WP WP [Wärmepumpe]-Strom) über S0-Kabel an extra Haushaltsstrom-Zähler BE6 und PV-Produktion über WLAN/LAN (Also beides so wie im Bild oben mit dem Haus). Dazu ein S0-Kabel=Zweidrahtleitung von AA2-X28 Pin 1 und 2 zum Zähler BE6, unter 7.2.1 den Energiezähler Impuls aktivieren und unter 7.2.19 die Impulse des Zählers einstellen. ODER PV-Überschuß und PV-Produktion über WLAN/LAN ("PV Smart") (Wenn Fronius Smart Meter gleich nach dem EVU-Zähler also im Einspeisepunkt sitzt. Angeblich bessere u. schnellere Variante. Man braucht dann eben keinen Haushaltsstromzähler BE6 mehr. Bei mir funktioniert das auch so.) In beiden Fällen wird Modbus TCP/IP unter 7.5.9 aktiviert und dann unter 7.5.12.2 der Inverter (WR) hinzugefügt. Dabei seine IP-Adresse verwenden, die man ihm vorher im Router fest zugewiesen hat. Mit einem Fronius Smart Meter braucht man keine Register wissen. Am Fronius-WR (zumindest beim Symo ist es so) mit WR WR [Wechselrichter]-IP/Einstellungen/Modbus die Datenausgabe von rtu auf tcp und die SunSpec-Kommunikationsform (Sunspec Model Type) von float auf integer+SF (int+SF) gestellt, Modbus Port auf 502. In beiden Fällen dann z.B. noch das Brauchwasser-Zeitprogramm in 6.2 in die Sonnenzeit legen. Auch könnte man evtl. die Temperaturen des Brauchwasser-Profils Hoch in 7.1.1.1 anpassen. Unter 4.2.2 kann man noch die Brauchwasserbeeinflussung (und auch Raumtemp.beeinfl.) für Solarstrom aktivieren (d.h. bei PV-Überschuß wird auf die Brauchwasserstufe Hoch gestellt, egal auf welcher Stufe Grundeinstellung und Zeitprogramm für das Brauchwasser stehen). Wieso man unter 4.2.2 etwas für den Wärmemengenzähler einstellen muss, verstehe ich nicht. Ich hätte gedacht, das hätte hier eigentlich Energiezähler statt Wärmemengenzähler heißen müssen. Vielleicht ist das ein Beschriftungsfehler in der Anzeige. Ich habe nun wegen meinem neuen Fronius Smart Meter (wir haben kürzlich vom obigen ersten Fall auf zweiten Fall umgestellt) dort von BE6 auf Intelligenter Zähler umgestellt. Das wissen aber @dyarne und @cacer hier sicher besser. |
||
|
||
|
sorry, keine ahnung, was die neuen geräte da machen, oder was da in welchem menue steht. frag das mal bei nibe/knv an. so fehler werden mit updates oft behoben. grundsätzlich halte ich diese ganzen AI-features aber eher hype getrieben. mag sein, daß da mal was gutes beiraus kommt, aber ne gut ausgelegte und parametrierte anlage wird da nicht so viel von profitieren. viel wichtiger ist ein guter abgleich (dein langen kreis mal korrigieren) mit extrem trägem haus kann man natürlich einiges von der pv in wärme im haus einlagern, aber da geht es um ein paar übergangstage. bin trotzdem gespannt, was die neuen geräte da so möglich machen :D
|
||
|
||
|
Um mal meine Fragen selbst zu beantworten: Für die Nutzung des PV-Überschusses ist der Haushaltsstromzähler mit S0-Anschluss wie gesagt nicht mehr nötig. Den Überschuß erhält man mit PV Smart direkt vom Smart Meter im Einspeisepunkt über WLAN/LAN modbus. Der Energiezähler Impuls BE6 kann unter 7.2.1 entfernt werden, sein S0-Kabel ebenso. Unter 7.2.19 sind die Impulse dann auch löschbar. "Intelligenter Zähler" unter 7.5.12 erscheint ohne eigenes Zutun. Unter 4.2.2 hätte es tatsächlich Energiezähler statt Wärmemengenzähler heißen müssen. D.h. ein Beschriftungsfehler in der Anzeige wg. Übersetzung. Mein einziges Problem noch: Die PV-Leistungen der Dachanlage erhält die WP WP [Wärmepumpe] zwar über die IP des WR WR [Wechselrichter]. Ein neu ergänztes Balkonkraftwerk ohne modbus-Funktion lässt sich aber nicht in der WP WP [Wärmepumpe] berücksichtigen, obwohl ich dafür extra einen Fronius Smart Meter habe. Somit ist die an der WP WP [Wärmepumpe] angezeigte Gesamtleistung nur die ohne die BKW-Leistung. Ob das nur die Anzeige oder auch die Beeinflussung der Brauch-/Heizwasser-Zubereitung durch Solarstrom-Überschuß betrifft, weiß ich nicht. Wenn der Hausverbrauch mal z.B. 100W ist und das BKW 600W produziert, dann zeigt die Solaranzeige an der WP WP [Wärmepumpe] (Strom-/Blitzsymbol links drücken) links unten eine um 500W höhere Einspeisung als die PV-Produktion links oben an und der Hausverbrauch oben rechts ist 0 ("Kein Volumenstrom", müsste wohl "Kein Verbrauch" heißen). Das ist natürlich unschön. Unter 4.2.2 war bei mir übrigens nun schon das zweite mal der Intelligente Zähler nicht mehr gespeichert. Besser nach Update oder Stromausfall nachsehen. Dann wird in der Solaranzeige der WP WP [Wärmepumpe] links unten für Einspeisung bzw. Bezug auch kein Wert angezeigt. |
||
|
||
|
Gibt es den intelligenten Zähler auch bei SMA Tripower Wechselrichter und Homemanager 2.0 als Zähler? Bei mir findet er nichts, wenn ich "intelligenten Zähler identifizieren" drücke, WR ist als Inverter1 angeschlossen. was mache ich falsch? |
||
|
||
|
Unter 4.2.2 steht immer noch Wärmemengenzähler statt richtigerweise Energiezähler. Und bei mir stand es wieder auf "Kein" statt auf "Intell. Zähler". Keine Ahnung warum. |
Beitrag schreiben / Werbung ausblenden?
Einloggen
Kostenlos registrieren [Mehr Infos]








