« Hausbau-, Sanierung  |

Fenster Sturzlos versetzen

Teilen: facebook    whatsapp    email
  •  speedy909
13.7.2025 1
1
Hallo zusammen,

ich habe demnächst vor eine Kernsanierung meines Badezimmers in Angriff zu nehmen.
Derzeit bin ich noch in der Planungsphase (verschiedene mögliche Varianten durchgehen)
Entkernt habe ich bereits, um die Sitaution mit den Abflussleitungen besser beurteilen zu können.

Einige meiner Möglichkeiten werden von einem derzeit vorhandenen Fenster stark eingebremst.
Das Fenster hat zudem derzeit eine Brüstungshöhe von ca. einem Meter, was bei einem Badezimmer nicht immer sehr praktisch ist.
Das ca. 25 Jahre alte Kunststoff-Fenster wird bei der Kernsanierung definitiv erneuert werden.

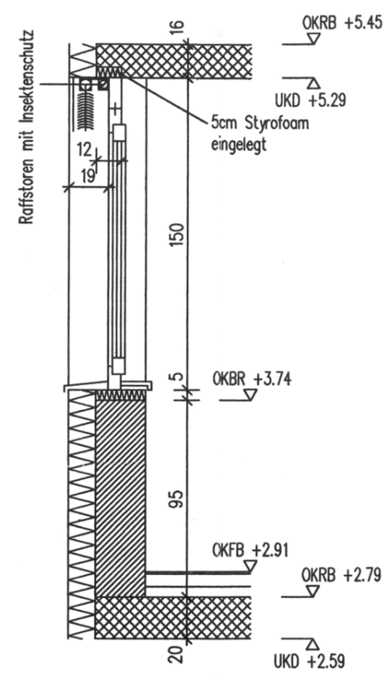
Hier eine Abbildung der Ausführung laut meinen Bauplänen.

_aktuell/20250713308353.png

Das Fenster befindet sich im 1.OG und darüber befindet sich der Dachboden mit einer 16 cm Betonplatte. (aus Beton-Fertig-Elementen die ausgegossen wurden) Es gibt keinen Sturz.
Ich würde gerne das Fenster als Oberlicht ausführen, damit man nicht in der Raum blicken kann.

Wäre es dann (generell) problemlos möglich das Fenster dafür breiter zu machen als das alte?Ich kann ja keinen Sturz ersetzen, da ich keinen habe.
Oder das Fenster gleichbreit an einer anderen Stelle einzusetzen?

Wenn ich weiß, was ungefähr möglich ist, kann ich mir die ein onder andere Variante überlegen...
 
Gruß
Speedy909

 

  •  tempo85
  •   Bronze-Award
13.7.2025  (#1)
Prinzipiel kann das Eisen und die Dicke der Decke selbst ausreichen, wobei ab einer gewissen Spannweite braucht man dann mehr Eisen (deckengleicher Sturz) oder/und mehr Dicke (Überzug/Unterzug). Ich weiß jetzt nur von meiner 20er Decke dort wurden 2 mal 12er Eisen beim Deckenrost verlegt und bis 1,8m brauchte es keine extra Maßnahmen.

Wichtig mal zu wissen wäre ob es einen deckengleichen Sturz gibt, denn dann kann man nicht einfach mehr machen sonst liegt der Sturz, auch wenn er Deckengleich ist, nicht mehr auf.

Wenn es keinen deckengleichen Sturz gibt und die Dicke und das Eisen der Decke damals ausreichend war, dann gibt es eine Chance dies größer zu machen, wobei wieviel größer kann dir dann ein Statiker oder eventuell sogar der Hersteller sagen.

1


Beitrag schreiben oder Werbung ausblenden?
Einloggen

 Kostenlos registrieren [Mehr Infos]

Nächstes Thema: WC im Keller abtrennen – wie am besten umsetzen?